相机+中文版免费2025官服
星空体育刚在hao86小编推荐的链接里安装了相机+中文版,瞬间就被它的流畅操作惊艳到了。周末和朋友去郊外野餐试拍,皮肤修饰自然得就像原生好气色,完全不用手动调参数。最让我惊喜的是视频滤镜里的「复古DV」模式,随手拍的湖面倒影加上噪点效果,朋友圈瞬间收获五十多个赞。水印功能简直是为探店达人量身定做的,能直接导入品牌logo还能调整字体阴影,上次拍的咖啡拉花配上烫金水印,店主当场问我要原图当宣传素材。夜间模式比我之前用的付费软件还强大,路灯下的樱花细节清晰得连花瓣纹理都看得见。要说最贴心的还是素材更新速度,上周看的动漫展主题相框,这周就出现在素材库里了。现在连我妈都学会用卡通相框拍广场舞视频,还专门让我教她怎么在hao86更新版本。要说唯一的小遗憾,可能就是滤镜选择太多容易犯选择困难症,不过每次拍完看着堪比杂志封面的成片,就觉得这1.2G的安装包真是物超所值。
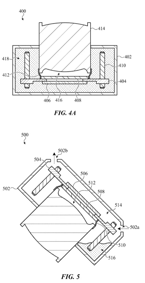
科技媒体 patentlyle 近日发布博文,报道称苹果获批名为“液冷相机模块”专利,通过将液体引入相机模块内部,解决传统相机模块在散热、稳定性和耐用性方面的不足。

传统相机模块中的图像传感器、驱动器和电子元件在运行时会产生大量热量,导致性能受限。苹果的专利通过在相机模块中注入液体(如矿物油),利用液体作为散热介质,吸收并分散热量,从而延长高性能模式的使用时间,避免因过热导致的自动关机。
苹果在专利中还认为,液体还能有效缓冲相机模块内部组件的震动,减少因外部冲击或振动造成的损坏。例如,当设备跌落时,液体可以减缓组件之间的相对运动速度,降低碰撞力,从而保护相机模块的精密部件。


特别声明:本文版权归文章作者所有,仅代表作者观点,不代表爱思助手观点和立场。本文为第三方用户上传,仅用于学习和交流,不用于商业用途,如文中的内容、图片、音频、视频等存在第三方的知识产权,请及时联系我们删除。
专利中描述了相机模块的独特结构,包括支持图像传感器的基板以及红外滤光片的布局。这种设计不仅优化了光路,还为液体的引入提供了空间,进一步提升了相机的整体性能。
苹果公司在其官网宣布,即使 iPhone 16e 没有像 iPhone 16 系列那样配备专门的相机控制按钮,用户依然可以通过“操作按钮”激活“视觉智能”(Visual Intelligence)功能。
苹果公司在海外官方描述中写道:“只需按下操作按钮,即可使用视觉智能、致电挚友、启动常用 App 等。”

苹果公司此前将“视觉智能”功能与相机控制按钮绑定,以此解释该功能为何未在 iPhone 15 Pro 系列中出现。但现在既然 iPhone 16e 可以通过操作按钮使用该功能,理论上该功能也能在旧款 iPhone 上运行。

苹果公司有可能在未来的 iOS 更新中为 iPhone 15 Pro 系列添加“视觉智能”支持,但也同样有可能将其保留为 iPhone 16 系列的专属功能。
特别声明:本文版权归文章作者所有,仅代表作者观点,不代表爱思助手观点和立场。本文为第三方用户上传,仅用于学习和交流,不用于商业用途,如文中的内容、图片、音频、视频等存在第三方的知识产权,请及时联系我们删除。
苹果公司上个月发布了 iOS 18.2 系统更新,部分 iPhone 用户反映更新到新系统后相机和手电筒功能出现严重问题。

据 Wccftech 报道,多位用户在 Reddit 和 X(原 Twitter)等社交平台上反映,升级至 iOS 18.2 后,他们的 iPhone 相机应用时常无法正常使用,打开后显示为黑屏,需要多次重启才能正常使用。用户 Cryptographer64 表示:“自从更新到 iOS 18.2 后,我的相机有时完全无法使用,打开相机应用时只会显示黑屏,通常需要重启两到三次才能恢复正常。Snapchat 等第三方应用也出现了类似问题。”另一位用户也证实了这一问题,称自己在新购买的 iPhone 上也遇到了相同的情况,起初以为是设备硬件故障,正准备回去换货,但通过论坛发现这是 iOS 18.2 的系统问题。

此外,手电筒功能也存在问题。部分用户反映,手电筒的开启存在显著延迟,有时甚至需要等待 10 秒才能点亮。一位用户表示:“更新后,手电筒的响应速度明显变慢,以前是瞬间点亮,现在却要等上好几秒。同时,打开 Snapchat 等应用时,相机也无法正常工作,屏幕一片漆黑,需要等待一段时间才能恢复。”

更令人担忧的是,有用户在尝试解决这些问题时,遭遇了更严重的后果。一位用户称,他按照苹果客服的建议对 iPhone 进行了恢复出厂设置,结果设备在操作过程中出现错误,导致手机彻底变砖。该用户表示:“苹果客服一直在推卸责任,甚至指责是我的数据线问题,尽管我使用的是原装线缆。他们似乎在回避问题,直到找到解决方案。”

目前,尚不清楚这些问题是否涉及多款 iPhone 机型,截至发稿,苹果公司也尚未对此事作出正式回应。
特别声明:本文版权归文章作者所有,仅代表作者观点,不代表爱思助手观点和立场。本文为第三方用户上传,仅用于学习和交流,不用于商业用途,如文中的内容、图片、音频、视频等存在第三方的知识产权,请及时联系我们删除。
无限暖暖游戏中有很多拍摄的任务,系统默认相机的水平灵敏度是极快,我们也可以根据任务要求的拍摄情况自定义设置竖直灵敏度,那么具体在哪调整呢?当前还是有小伙伴不清楚,下面小编整理了《无限暖暖》默认相机竖直灵敏度设置方法介绍,一起看看吧。
3、找到默认相机竖直灵敏度,点击后面的三角图标,根据自己的使用需求进行调节即可。

以上就是小编整理带来的《无限暖暖》默认相机竖直灵敏度设置方法,更多精彩内容,请点击关注手游网,小编将持续为您更新!

iOS / iPadOS 18.2 Beta 3的内部版本号为22C5131e, 虽然更新幅度没有 Beta 1/2 那么大,但依然有一些值得关注的改进。包括了一系列功能增强与错误修复,用户可以期待在新版本中看到更为流畅的界面和更快速的应用启动速度,尤其是此次更新在处理器的性能调优方面,用户反馈表示应用的响应时间明显缩短,使得日常使用体验更加顺滑。
设置应用中新增了一个选项,可以禁用相机控制的“需要屏幕开启”选项,这意味着无论 iPhone 16 的屏幕是否处于点亮状态,都可以通过单击拍照按钮打开相机应用。

苹果正在继续调整下一代 CarPlay 的图标。虽然仍未在任何一款车辆上可用,iOS 18.2 beta 3 更新了即将于今年推出的升级版 CarPlay 体验中的“媒体”和“气候”应用图标。

在 iOS 18.2 Beta 3 中,用户在照片应用中点击视频后,它不再放大或缩小,视频滑块和底部的图库视图在视频上方保持可见。
相册里的大画幅视频又回归到了全屏展示,另外,原来照片四周的小圆角也没有了。

在 iPadOS 18.2 Beta 3 中,用户可自定义电视应用的导航栏,可以将任何侧边栏项目添加到标签栏,包括频道、应用、库和体育。
修复 AirTags、AirPods 和第三方 Find My 兼容配件的播放声音和精确查找功能可能无法正常工作的问题。
此前版本中出现的自带应用重启后,应用锁会失效的问题依然存在,但照片重叠显示的Bug没有了。

苹果在过去的版本中,已经引入了许多与AI相关的创新,AI技术的应用正在改变用户与设备之间的互动方式,提升了智能体验。本次iOS/iPadOS 18.2 Beta 3更新不仅是一次例行的功能提升,它还呼应了当前科技发展的潮流,展现了苹果公司在AI以及用户体验方面的前瞻性布局。
(从 iOS / iPadOS 16.4 开发者预览版 Beta 1 开始,需要注册苹果开发者计划,注册后打开系统【设置】【软件更新】即可看到升级选项。)
安装最新版爱思助手 ,用数据线把移动设备连接到电脑;然后点击上方“智能刷机”进入到“一键刷机”界面,在可刷版本中选择iOS / iPadOS 18.2 Beta 3点“立即刷机”即可。
科技媒体 9to5Mac报道称苹果最新发布的 iOS 18.2 首个 Beta 更新中,响应欧盟地区的《数字市场法案》(DMA),现支持删除 App Store 等预装应用。
苹果 iOS 系统此前已支持删除计算器、日历、音乐和备忘录等原生应用,而在最新 iOS 18.2 Beta 1 更新中,扩展可删除预装应用清单,支持删除 App Store、相机、Safari、短信(Messages)和照片(Photos)。
这意味着欧盟地区的 iPhone 用户升级 iOS 18.2 后,有权 AltStore 等第三方应用商店,来替代 App Store。该媒体报道,苹果在设置中增加了一个按钮,方便用户在删除后恢复 App Store。

该媒体认为苹果公司正在积极响应欧盟的数字市场法案,通过 iOS 18.2 版本为用户提供更大的灵活性和选择权,这些变化不仅体现了对用户需求的重视,也展示了苹果在全球市场中的适应能力。
特别声明:本文版权归文章作者所有,仅代表作者观点,不代表爱思助手观点和立场。本文为第三方用户上传,仅用于学习和交流,不用于商业用途,如文中的内容、图片、音频、视频等存在第三方的知识产权,请及时联系我们删除。
工程相机作为专业工具,广泛应用于建筑、工程、地质勘探等领域,其拍摄的图片质量直接影响到后续工作的准确性和效率。因此,掌握如何调整工程相机图片大小成为一项基本技能。本文将详细介绍如何在工程相机中设置图片尺寸。
以上就是小编带来的工程相机怎么设置图片大小?设置图片尺寸方法,更多相关资讯教程,请关注手游网。
iOS 18.1 Beta 5新功能:快速重置自定义控制中心,控制按钮加入新的相机选项
为了更好的继续测试 Apple 智能功能,苹果昨日给大家推送了iOS 18.1 和 iPadOS 18.1 的第五个测试版!
想升级体验的用户可以通过在兼容设备上的“设置”应用中转到“通用”>
“软件更新”。(请注意,Apple 智能只可在 iPhone 15 Pro 或 iPhone 16 上运行,但国行机型暂时无法使用 Apple 智能。)
在 iOS 18.1 的第五个测试版中,苹果对新的可自定义控制中心进行了一些更改。
在设置应用的控制中心部分,现在有一个返回默认设置的选项。如果您对控制中心进行了大量的更改,并且不想费心移动所有内容,现在可以使用重置选项返回到安装 iOS 18 时苹果提供的默认选项。

另外,苹果还为 Wi-Fi 和 VBN 连接添加了单独的控制中心连接控件。在 iOS 18 的早期版本中,这些控件被嵌入到一个多合一的连接按钮中,但现在可以将它们添加到控制中心。新的 Wi-Fi 和 VBN 选项无法添加到锁定屏幕或操作按钮。
现在几乎所有的连接控件都可以单独添加,包括飞行模式、蜂窝数据、个人热点、蓝牙、Wi-Fi 和 VBN。
当您深入研究相机控制设置时,现在可以将其设置为前置摄像头,而无需与 iPhone 的显示屏交互。

要进入相机,请按下相机控制按钮打开相机应用,然后使用按钮上的滑动手势滚动浏览镜头。最顶部的人形图标会切换到前置相机。
请注意,如果您将相机控制设置为其他设置,则需要打开相机应用,激活相机控制,然后点击屏幕以切换工具。相机和镜头选项位于“相机”标题下。
在 iOS 18.1 之前,您可以使用此手势滑动浏览不同的镜头选项,例如 0.5x、1x、2x 和 5x(仅限Pro),但现在它还包括相机,以便更轻松地获取所有可用的镜头选项。
特别声明:本文版权归文章作者所有,仅代表作者观点,不代表爱思助手观点和立场。本文为第三方用户上传,仅用于学习和交流,不用于商业用途,如文中的内容、图片、音频、视频等存在第三方的知识产权,请及时联系我们删除。
轻颜相机怎么开启闪光灯?轻颜相机是一款非常实用的P图软件相信大家都有使用,但是有部分小伙伴不知道怎么自动保存,那么今天小编就来给大家介绍介绍轻颜相机怎么自动保存,感兴趣的小伙伴一起来看看吧。
轻颜相机怎么自动保存?轻颜相机是一款非常实用的P图软件相信大家都有使用,但是有部分小伙伴不知道怎么自动保存,那么今天小编就来给大家介绍介绍轻颜相机怎么自动保存,感兴趣的小伙伴一起来看看吧。
5、然后我们点击下方“自动保存”右侧的开关按钮,这样我们就可以开启自动保存了。


轻颜相机怎么进行登录?轻颜相机是一款非常实用的P图软件相信大家都有使用,但是有部分小伙伴不知道怎么进行登录,那么今天小编就来给大家介绍介绍轻颜相机怎么进行登录,感兴趣的小伙伴一起来看看吧。
轻颜相机怎么修图?轻颜相机是一款非常实用的P图软件相信大家都有使用,但是有部分小伙伴不知道怎么修图,那么今天小编就来给大家介绍介绍轻颜相机怎么修图,感兴趣的小伙伴一起来看看吧。
